粉體行業在線展覽
BT-103 粉體休止角測試儀
面議
丹東百特
BT-103 粉體休止角測試儀
745
產品介紹
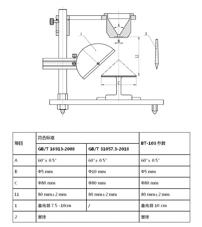
BT-103是一種用于粉體休止角測試的儀器,它采用注入限定底面法。BT-103粉體休止角測試儀滿足標準GB/T 16913-2008、美國藥典USP<1174>和歐洲藥典EP 2.9.36。休止角是指在靜平衡狀態下,粉體堆積斜面與底部水平面所夾銳角叫做休止角。它是通過特定方式使粉體自然下落到特定平臺上形成的。休止角大小直接反映粉體的流動,休止角越小,粉體的流動性越好。休止角也稱安息角或自然坡度角。廣泛用于制藥與食品、工業化學、能源電池粉末、科研院校、質檢機構等相關粉末粉體及顆粒材料檢測;可以提供粉體儲藏性質的變化,特別是在料倉中儲存情況等。
符合標準

操作步驟
● 粉體裝入量杯:將適量的粉體裝入量杯中。
● 倒入粉體:用塞棒塞住漏斗流出口。將量杯內的粉體全部緩慢倒入漏斗中。
● 抽出塞棒:抽出塞棒,使粉體從漏斗孔流出到下面的平臺上。對于流動性不好的粉體,可攪動使粉體連續通過漏斗下落。如果粉末不能自然流出可以敲擊漏斗或使用細鐵絲使粉體流出形成錐體。
● 測量休止角:待粉體全部流出后,用量角器測量粉體錐體母線與水平面所成夾角,然后輕輕轉動接料盤120°和240°位置并測量角度。把上述三個角度取平均值,該平均值就是這個粉體的休止角(θr)。
BT-2900動態圖像粒度粒形分析系統
BeNano 180 Zeta 納米粒度及 Zeta電位分析儀
BT-1500離心沉降式粒度分布儀
BT-103 粉體休止角測試儀
BT-102金屬粉末流動性測定儀(霍爾流速計)
BT-101 松密度測試儀(斯科特法)
BT-100通用粉體松裝密度測試儀
BeNano 90 納米粒度分析儀
BTPM-HS10 多濾膜PM2.5和PM10標準采樣器(10濾膜)
BTPM-AWS2智能恒溫恒濕稱重系統
BTPM-AWS1濾膜自動稱重系統
BTPM-MWS1濾膜半自動稱重系統